| Estado de Disponibilidad: | |
|---|---|
| Cantidad: | |
PHW-7-NC
Piezohannas
PHW-7-NC
Transductor ultrasónico piezoeléctrico de baja frecuencia de 7MHz para la recepción de ruido
Parámetros técnicos:
Elementos | Parámetros técnicos | Imagen | |
Nombre | 7khzTransductor ultrasónico submarino |
| |
Modelo | PHW-7-NC | ||
Frecuencia | 7khz ±2Khz | ||
Distancia de detección | 300m | ||
Mínimo paralelo lmpeedance | 4000Ω ± 20% | ||
11000pf ± 20%@ 1khz | |||
-40~+ 80 ℃ | |||
≤10Kilos o 1MPA | |||
Material de la carcasa | abdominales | ||
uso | Recepción de ruido de baja frecuencia | ||
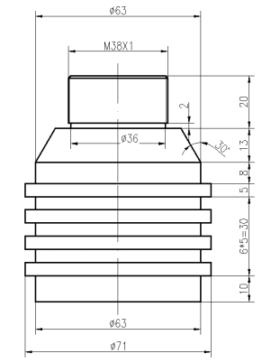
Ver Estructura del producto Dibujo para más detalles | |||
Nivel de protección | IP68 | ||
Peso | 325g ± 5% (Longitud de cable:1M) | ||
Instrucciones de cableado | Rojo: Transductor +, Negro: Transductor - y alambre de blindaje; ( sensor de temperaturaes opcional) | ||
Curva de admitancia | Diagrama de la estructura del producto | ||
| |||
Diagrama de bloques del transductor ultrasónico:
Diagrama esquemático del sensor de temperatura. (Modelo: MF58_502F3470):
Instrucción de cable de tipo integrado:
1. Instrucción relacionada con el transductor: interfaz (3pin, terminal de 2.54 mm)
Rojo: Transductor +
Blanco: Transductor -
Negro: blindaje
2.Cable instrucción de sensor de temperatura: interfaz (3pin, terminal de 2.0 mm)
Rojo y negro son el cableado del sensor de temperatura.
Tipo de división: cable de 10 m estándar, con cada 50 m adicionales de cable, la atenuación de la señal es 6dB
Instrucciones de cableado de tres núcleos:
Rojo: Transductor +
Azul: Sensor de temperatura +
Negro: Public-
Instrucciones de cableado de cuatro núcleos:
Rojo: Transductor +
Amarillo: Transducidor-
Azul, negro: sensor de temperatura
Transductor ultrasónico piezoeléctrico de baja frecuencia de 7MHz para la recepción de ruido
Parámetros técnicos:
Elementos | Parámetros técnicos | Imagen | |
Nombre | 7khzTransductor ultrasónico submarino |
| |
Modelo | PHW-7-NC | ||
Frecuencia | 7khz ±2Khz | ||
Distancia de detección | 300m | ||
Mínimo paralelo lmpeedance | 4000Ω ± 20% | ||
11000pf ± 20%@ 1khz | |||
-40~+ 80 ℃ | |||
≤10Kilos o 1MPA | |||
Material de la carcasa | abdominales | ||
uso | Recepción de ruido de baja frecuencia | ||
Ver Estructura del producto Dibujo para más detalles | |||
Nivel de protección | IP68 | ||
Peso | 325g ± 5% (Longitud de cable:1M) | ||
Instrucciones de cableado | Rojo: Transductor +, Negro: Transductor - y alambre de blindaje; ( sensor de temperaturaes opcional) | ||
Curva de admitancia | Diagrama de la estructura del producto | ||
| |||
Diagrama de bloques del transductor ultrasónico:
Diagrama esquemático del sensor de temperatura. (Modelo: MF58_502F3470):
Instrucción de cable de tipo integrado:
1. Instrucción relacionada con el transductor: interfaz (3pin, terminal de 2.54 mm)
Rojo: Transductor +
Blanco: Transductor -
Negro: blindaje
2.Cable instrucción de sensor de temperatura: interfaz (3pin, terminal de 2.0 mm)
Rojo y negro son el cableado del sensor de temperatura.
Tipo de división: cable de 10 m estándar, con cada 50 m adicionales de cable, la atenuación de la señal es 6dB
Instrucciones de cableado de tres núcleos:
Rojo: Transductor +
Azul: Sensor de temperatura +
Negro: Public-
Instrucciones de cableado de cuatro núcleos:
Rojo: Transductor +
Amarillo: Transducidor-
Azul, negro: sensor de temperatura